Product Summary
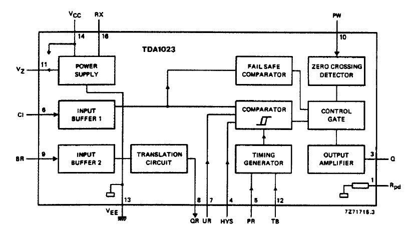
The TDA1023 is a proportional-control triac with triggering circuit. The TDA1023 is a bipolar integrated circuit for controlling triacs in a proportional time or burst firing mode. Permitting precise temperature control of heating equipment it is especially suited to the control of panel heaters. The TDA1023 generates positive-going trigger pulses but complies with regulations regarding mains waveform distortion and RF interference. The device is suitable for Panel heaters and Temperature control.
Parametrics
TDA1023 absolute maximum ratings: (1)VCC supply voltage (derived from mains voltage): 13.7 V; (2)VZ stabilized supply voltage for temperature bridge: 8 V; (3)I16(AV) supply current (average value): 10 mA; (4)tw trigger pulse width: 200 ms; (5)Tb firing burst repetition time at CT = 68 mF: 41 s; (6)-IOH output current: 150 mA; (7)Tamb operating ambient temperature range: -20 - +75 ℃.
Features
TDA1023 features: (1)Adjustable width of proportional range; (2)Adjustable hysteresis; (3)Adjustable width of trigger pulse; (4)Adjustable repetition timing of firing burst; (5)Control range translation facility; (6)Fail safe operation; (7)Supplied from the mains; (8)Provides supply for external temperature bridge.
Diagrams

| Image | Part No | Mfg | Description | ![]() |
Pricing (USD) |
Quantity | ||||
|---|---|---|---|---|---|---|---|---|---|---|
![]() |
![]() TDA1023T |
![]() Other |
![]() |
![]() Data Sheet |
![]() Negotiable |
|
||||
![]() |
![]() TDA1023 |
![]() Other |
![]() |
![]() Data Sheet |
![]() Negotiable |
|
||||
(Hong Kong)









